
Fractal Antenna Systems, Inc. (“FRACTAL”) today announced a major advance in electromagnetic design with the introduction of Link-Invariant Antennas (LIA) — a new class of radiators that preserve constant link performance across wide frequency ranges.
FRACTAL’s LIA technology represents one of the early breakthroughs in the company’s Next-Generation Antennas initiative, now advancing rapidly under the Owl Works™ Special Projects Group, FRACTAL’s advanced-concept laboratory in Bedford, MA. The Owl Works™ takes on tough cutting edge tasks in antennas, arrays, cloaking, and metamaterials with proprietary state of the art solutions.
Nathan Cohen, CEO, said the company “is creating new antenna solutions for selected customers who need the state of the art, in record time.” He noted that “a recent and spectacular antenna array win at North America’s largest stadium showcases how we are moving ahead successfully while others are not up to the task. Cohen cites another recent proprietary design breakthrough: a near omni azimuthal wideband antenna with gain, and suppressed ‘doughnut hole’ at zenith. ”There’ s no magic, but clever design afforded by Owl Works™ acumen and fractal metamaterials.”
And then there is LIA.
Building on the firm’s decades of innovation in antenna geometries, the patent-pending LIA designs depart fundamentally from traditional wideband and constant-aperture antenna systems. Conventional approaches — such as log-periodic arrays — keep impedance and beam relatively stable but still show delivered power roll-off with frequency in the link. Other broadband forms, like Vivaldi antennas, offer impedance constancy at the expense of varying gain. Antenna systems, such as dishes, or lens antennas, comprise several antenna components to achieve constant aperture and impedance.
LIA are self-contained radiators that couple a broadband impedance match and a fixed effective aperture in a single geometric entity. This removes the complexity of components and cost that ‘fixed aperture’ antenna systems have previously required and opens enabling opportunities for LIA to be used in applications hitherto never considered.
Link-Invariant Antennas use shape and geometry to rise deterministically with frequency, keeping total power in the link constant across the band and delivering constant received power at the other end of the link. A priori geometric design rules--invoking fractals—make this possible, with no add-ons. This simple but profound shift in design approach cancels the normal wavelength-squared loss that occurs in wideband propagation, creating a uniform power link from source to target, from remarkably simple design rules.
According to Cohen, “for more than eighty years, antenna professionals, including myself, have pursued frequency independence and constant aperture systems, and tried to perfect it. LIA re-define that framework: they are link-independent, not frequency-independent. The link sees the same received power, regardless of frequency, with surprisingly simple design rules, and this single-component, and simple, antennas, for the wavelength -squared gain factor and constant impedance. That’s the breakthrough which frequency-independent antennas and complex antenna systems are incapable of delivering.”
Cohen explained that this marks a transition from what is mostly impedance-driven to link-driven antenna design. “It’s a natural evolution of the fractal design philosophy — where geometry defines function across frequency. In doing so, we’re expanding a chapter in antenna theory —one that most thought had already been written.”
LIA were invented from a specific need: simpler, wideband radar, to detect and characterize drone swarms. Cohen stresses:” Radar systems are too expensive. You need many thousands to have a comfort level coverage of drone swarms. We invented ‘Link Radar’ as an alternative to present radar systems, with LIA as the enabling force. Simplifying the system up-front, thanks to LIA, makes an elegant systems approach to detect and characterize the radar return for drones, opening up super-cheap, portable options not previously possible. Classic disruptive technology.”
Cohen notes that, not surprisingly, LIA are “locally self-similar and thus an intriguing variety of fractal antennas. The advent of fractal geometry in antennas thus takes an expanded importance afforded by LIA and constitute an antenna revolution playfully dubbed ‘The Aperture Rebellion’, a truly disruptive technology.” Antennas become an integral part of the system rather than a widget afterthought, putting RF systems — from EW, IoT, radar, and SATCOM to ISR and broadband communications —into new environments while delivering more cost-effective applications across the board. Continues Cohen: “The Aperture Rebellion is here, and it has and will continue to change where antennas go and what they can do.”

Fractal Antenna Systems, Inc. today announced that it has been awarded the Gold Military & Aerospace Electronics Innovators Award for its breakthrough Acoustic Resonance Mitigation (ARM) technology—an industry-defining advancement in soft-kill Counter-UAS capability.
ARM leverages precisely engineered acoustic energy to disrupt the stability of hostile drones without relying on RF jamming, kinetic interceptors, or directed-energy weapons. This non-kinetic approach offers a low-cost, portable, and rapid-response solution for protecting critical airspace, infrastructure, and personnel.
“We’re honored to receive the Gold award,” said Dr. Nathan Cohen, CEO and Chief Scientist at Fractal Antenna Systems. “ARM represents a new class of counter-drone defense—one that is practical, scalable, and designed to meet the evolving challenges of modern security environments.”
ARM’s recognition builds on nearly a decade of pioneering work. In 2015, Dr. Cohen and a colleague filed and secured the first-ever patent for a sound-based counter-drone system, establishing the original innovators behind acoustic drone-disruption technology. Their early research demonstrated that targeted acoustic energy could destabilize small unmanned aircraft—an insight that has since become a foundational concept in non-kinetic UAS defense.
ARM innovation has a long-standing, and growing, intellectual property portfolio that continues to anchor Fractal’s leadership in next-generation counter-drone solutions. The firm recently completed design of a new acoustic platform, called JERECHO™ to be described at a later date.

Future Proof - Buy America - TAA Compliant
It’s the Industry standard: UACM-V from Fractal Antenna Systems — the one antenna that covers it all. With a massive 150 MHz to 6 GHz range, this wideband, ceiling-mount omni gives you full support for Public Safety, Cellular, Wi-Fi, and 5G in one sleek, compact unit. And Now its BUY AMERICA COMPLIANT. Built on patented fractal technology, the UACM-V delivers consistent, reliable performance across every band — no need for multiple antennas or future redesigns. It’s compact, low-profile, and blends easily into any indoor environment. The 18 inch N terminated cable (not shown)makes installation quick and easy. Sold as ceiling mount or with optional R1 mount.
Proudly designed and manufactured in the USA*, the UACM-V is both Buy America and TAA compliant, making it ready for federal, municipal, and enterprise deployments. Ideal for: Public Safety DAS (VHF, UHF, 700/800 MHz), Commercial & Cellular DAS (LTE, 5G), Wi-Fi / Enterprise / Campus / Stadium installations
One antenna. Every band. Zero compromise.
Drop us a line - sales@fractenna.com

For thirty years, Fractal Antenna Systems has been redefining the limits of wireless innovation under the leadership of Nathan Cohen—a polymath inventor whose work spans fractal antennas, cloaking physics, and cutting-edge acoustic defense. With nearly a hundred U.S. patents and a career marked by foundational breakthroughs, Cohen continues to push boundaries through bold initiatives like OWL WORKS™, keeping the company at the forefront of technological transformation.
We recently caught up with Cohen on the 30th anniversary of Fractal Antenna Systems. The resulting profile (linked here) is eye-opening and a must-read for anyone who wants to understand how a single visionary has shaped—and continues to shape—the future of multiple industries.

Fractal Antenna Systems, Inc. (“FRACTAL”) has introduced a pioneering technology designed to disable drones mid-flight. Known as Acoustic Resonance Mitigation (ARM), this innovation uses directed acoustic energy to disrupt drones, causing instability and ultimately forcing them to crash or abort their trajectory.
FRACTAL CEO Nathan Cohen and colleague A.J. Shelman invented ARM technology over a decade ago, and it is protected by issued U.S. patents and several pending patents. These are licensed to FRACTAL as part of its ongoing drone programs.
Cohen, an astrophysicist with a multidisciplinary knowledge base and 55 years of experience in antennas and arrays, holds 94 U.S. patents. He previously served as a professor of Aerospace and Mechanical Engineering at Boston University.
ARM operates by emitting directional sonic, ultrasonic, and subsonic waves toward a drone, inducing vibrations and Prandtl layer instability, leading to flight failure.
Propeller blades prove a drone’s Achilles’ heel, either due to turbulence at the blades themselves or vibrations conveyed from the blades to the IMU. Cohen states, “The blades are made into a driven oscillator, and no matter how hard you try, and there are those who are trying, you cannot fully isolate the MEMS in the IMU from these driven oscillations from the outside. In the smaller drones, it is impractical to achieve full mechanical or digital filtering.”
Leveraging its expertise in antennas and arrays, FRACTAL has devised arrays that precisely target drones to trigger these effects. Much of ARM occurs at ultrasonic frequencies—inaudible to humans but highly disruptive to drones.
"ARM evolved from concept to necessity with the exponential rise of quadcopter drones and their adversarial use,” says Cohen. “With our Fractal Owl Works team, FRACTAL remains at the forefront of drone enablement and countermeasures. With our unique antennas, we enable friendly-drone jamming missions. Here we stop adversarial ones using sound. Lessons learned apply across fields. Our expertise in RF and fractals directly applies to acoustics.”
Since 9/11, FRACTAL has been a leader in RF jamming and antenna systems, but as Cohen notes, “RF jamming is severely restricted in the U.S., leaving a legal gap in drone defense. Save for a military setting, you can’t shoot a drone or zap it with microwaves—legally. Lasers are very expensive and affected by atmospheric humidity. ARM provides a much-needed alternative for government and enterprise security.”
Cohen, as the co-‘source’ inventor, is pleased that the effectiveness of ARM was confirmed through efforts in Korea and Canada. Patent priority dates to 2015, before these disclosed foreign efforts. “It is common for many of my inventions to be well ahead of their time. ARM is happily in the regime of now, after a 10-year wait.” He further clarified that ARM patent licensing is unavailable to foreign firms.
As a non-destructive, cost-effective countermeasure, ARM can disable drones ranging from miniature surveillance microdrones to those the size of a pizza box. It is highly economical—costing mere pennies per use—and can be deployed portably, with a viable effective range.
Illegal surveillance and even drug smuggling has become a huge problem created by smaller drones. Cohen sees ARM as an emerging standard of practice to keep smaller drones away from where they shouldn’t be. ARM also includes a suite of patent-pending technologies designed to neutralize drones while remaining unobtrusive. Additional patent claims relate to the prevention of ARM technology use to harm people or animals.
“Government and public safety agencies should explore how we can collaborate as ARM moves into its product stages,” Cohen concluded.
Fractal Antenna Systems, Inc. today revealed a new miniaturized wideband drone antenna that creates new opportunities on the battlefield. Dubbed the FeathR™, the antenna combines small size, lower weight and low radar visibility, making it a game changer in drone warfare.
A commonly used method to kill drone swarms is to jam them with high power microwaves. While effective, this method requires vehicle or vessel support and a clear shot at the incoming drone swarm, taken from a distance of often hundreds of yards. This severely limits the opportunities to actually neutralize most drone swarms, which are designed to fly low in obscuring terrain or in a ground effect sealayer.
The new FeathR™ antenna takes a different approach. Its small size but wideband response allows modestly-powered drone-born jamming transmitters to fly into the drone swarm, on a moment’s notice, neutralizing them from close range.
As inventor Nathan Cohen states: “The patent pending FeathR™ antenna puts the wolf in the middle of the chicken coop”. Built with stealthy attributes and wideband specifications, the FeathR™ can use almost any waveform to deliver the goods on jamming drone swarms. An added option is the ability to have an up and downlink from a ground based, spaced based, or air based control platform. In other words, the FeathR™ antenna can jam without jamming itself.
The new antenna will be limited to defense use and will be sold as a developer’s kit to select users.

Fractal Antenna Systems, Inc. has announced the creation of FRACTAL OWL WORKS, a special projects team focused on cutting-edge electromagnetic solutions for government and defense applications.
Building on 30 years of leadership in antennas, metamaterials, and electromagnetics, OWL WORKS was formed to address critical technological gaps left by aging expertise and insufficiently trained teams at other firms and labs.
“The U.S. cannot afford to be second-best in electromagnetic solutions,” said CEO Nathan Cohen. “Many firms have lost their innovation edge, hindered by outdated knowledge, inadequate scholarly training, and a historical ‘not invented here’ mentality. OWL WORKS exists to change that.”
Cohen will lead the elite team, leveraging the history of FRACTAL’s world-class innovation while integrating AI as a strategic tool. “AI accelerates progress but lacks critical problem-solving intuition. Experience in lateral thinking is key. OWL WORKS blends both for maximum impact."
The team has already developed its first breakthrough—a wideband miniature drone antenna designed to minimize radar reflections and propeller wash. Cohen clarifies: “This is not for recreational drones or retail use.”
Future OWL WORKS projects include satellite technologies, arrays, cloaking, and more—further solidifying FRACTAL’s role at the forefront of electromagnetic innovation.

Fractal Antenna Systems announced that its CEO and founder, Nathan Cohen, will be honored with the first Arno Penzias Award by the Radio Club of America (RCA) in recognition of his groundbreaking basic science contributions to the field of radio science. This prestigious award is named after Nobel Laureate Arno Penzias, whose discovery of cosmic microwave background radiation revolutionized our understanding of the universe.
Cohen, a visionary in fractal antenna technology and metamaterials, is known for reshaping modern science with innovations that have had far-reaching impacts across defense, aerospace, telecommunications and more. His pioneering work includes the invention and development of fractal resonators and antennas, which have enhanced the efficiency and performance of a wide array of devices, as well as the invisibility cloak, a groundbreaking example of the practical applications of metamaterials.
“I am deeply honored to receive this recognition,” said Cohen. “What began as an experimental curiosity with fractals has transformed into a foundational shift in the way we approach physics, RF and optics. To see these ideas grow from my early experiments into real-world applications and areas of research is a testament to the power of innovation."
Cohen’s explorations into fractals revolutionized the basic science of scattering and resonators, which have resulted in more than 4,500 scholarly publications globally. His groundbreaking work on metamaterials and the invention of the invisibility cloak — likened to the fictional device from Harry Potter — has captured the imagination of both scientists and the general public alike.
“Dr. Cohen’s innovations have opened entirely new fields of exploration in radio science,” said David Bart, president, RCA. “His work on fractal antennas and metamaterials exemplifies the spirit of scientific curiosity and technological advancement that the Penzias Award celebrates.
”For over three decades, Fractal Antenna Systems has been a leader in leveraging Cohen’s discoveries to create cutting-edge solutions for industries ranging from defense to telecom. Under Cohen’s leadership, the company continues to push boundaries in phased array systems, public safety technologies, metamaterials and advanced communication systems.
The Penzias Award ceremony will take place at the RCA’s annual gala on November 23, where Cohen will formally accept the award.

Citing increased demand, Fractal Antenna Systems, Inc. today announced it has increased its production of the Symphony-SP™ antenna. Already known in the industry as the ‘go to antenna’ for 5G midband, the Symphony-SP™ has become the antenna of choice for large venues, especially stadium installs.
Notes CEO Nathan Cohen: “Carriers and installers have rapidly discovered that the Symphony-SP™ is the antenna they need now, and in the future, with its wideband performance covering all US commercial cellular frequencies in usage, including in the 3-5 GHz range, and beyond.”
For inquiries on pricing, ship dates, and availability email: ncohen@fractenna.com.

This Spring Fractal Antenna Systems (“FRACTAL“) will be increasing antenna production capabilities, the Massachusetts based antenna manufacturer has announced.
According to Fractal CEO Nathan Cohen, “We have outgrown our existing manufacturing facilities due to strong customer demand for public safety and telecom antennas. Since we are not dependent on international supply chain bottlenecks, we can serve our customers with locally sourced products while maintaining competitive pricing.
The new facility (shown at the start of build-out) will feature increased floor space, allowing for production of several antenna lines simultaneously, quality control inspection, and expanded space for research and development.
Adds Cohen, “Fractal based technology enables our world-class in-house production capabilities. Our extensive patent portfolio, combined with almost 30 years of design and manufacturing experience, has allowed us to earn the trust and respect of our customers and markets globally. We are there, as always, for them.
”In addition to the firm’s fractal technology advantages, FRACTAL uses its patented proprietary 3D printing technology to leverage their American based production capabilities. “FRACTAL uses the next generation in antenna production, and our customers see those benefits today.”

The latest issue of the online magazine IEEE Insights repeats itself—on many scales. Highlighting the global use of fractals as antenna elements, the article celebrates the third of a century landmark for fractal antennas and their inventor, FRACTAL’s CEO Nathan Cohen.
See: Why Mobile Phones Can Do So Many Things: The Invention of The Fractal Antenna
Cohen notes: “Its been a crazy journey and it’s fun to see the world-changing invention and the inventor properly attributed. But, I am not a mere historical figure, as in the Monty Python sketch: ’I’m not dead yet’. In fact, I am doing my very best work right now. It’s an exciting time." Cohen is still ahead on the fractal front, with his 79th US patent now in allowance. FRACTAL’s new metamaterial inventions & technologies present enabling opportunities for growth industries in autonomous vehicles, satellites, superconductivity, optics, telecommunications, energy, radar, and electronics, among others. “It started with bending a piece of wire and a aluminum foil cutout. Where it is going is a new world of progress for everyone”, states Cohen.

BEDFORD, Mass.--Fractal Antenna Systems today reported that it has successfully increased production capacity for its world renowned in-building public safety/ERRCS antennas. FRACTAL’s proprietary technologies enable antennas with high performance in market leading form factors. Featuring wideband VHF, UHF, and 700/800MHz coverage for public safety frequencies in compact sizes with competitive pricing, Fractal’s ‘UA’ series public safety DAS antennas (including its popular UACM-V & UASM-V models) have become ubiquitous in municipal & commercial buildings, universities, residential buildings, transportation facilities, hospitals, factories, and datacenters.

BEDFORD, Mass.--(BUSINESS WIRE)--Fractal Antenna Systems, Inc. (FRACTAL) today announced its first sales for the “Symphony-SP” – a new and innovative directional antenna solution for sub-6GHz 5G sector coverage in stadiums and high capacity venues. The Symphony-SP represents a material improvement to existing solutions, delivering wideband coverage in a highly reduced size and weight. The Symphony-SP provides broadband MIMO coverage from 617MHz to 6GHz, with coverage of all key licensed and unlicensed bands – including GSM, LTE, 5G, CBRS, WiFi, C-Band, and LAA. And this coverage comes in a surprisingly small package. The Symphony-SP weighs in at less than 10 lbs and wields a footprint of less than 13”x13”...

BEDFORD, Mass.--(BUSINESS WIRE)--Fractal Antenna Systems, Inc. (FRACTAL) today announced upcoming issuance of a fundamental patent on unidirectional antennas, that replace existing applications with smaller, more versatile and visually pleasing options and form factors. The breakthrough is made possible by the firm’s proprietary fractal and metamaterial technology. Close-packing of the fractals makes this a metamaterial, producing a unique composite: a ‘fractal metamaterial,’ that enables wave bending, gain, and control in ways previously not attained. The new fractal metamaterial technology offers a superior alternative to Yagi-Uda antennas.

BEDFORD, Mass.--(BUSINESS WIRE)--Smart roads with self-driving vehicles are an innovation with big problems to solve. Now, Fractal Antenna Systems, Inc. (FRACTAL) reports it has solutions to make road tags brighter to vehicular radar, for improved driverless tracking, and enabling the antiquation of LIDAR systems. The solutions also enable unique advantages for future flying cars/taxis, and even satellites. While reducing the reflected “scattering” to a radar signal, FRACTAL not only found a way to make the reflections disappear, but also found other unique fractal-based solutions that actually enhanced radar reflection. Such unusual reflectors are now called “superscatterers”.

The Radio Club of America, the world’s oldest and most prestigious group of wireless professionals, has announced that FRACTAL’s CEO Nathan Cohen will receive the Lee DeForest Award at the organization’s annual banquet. Cohen’s prolific innovative efforts have led to wide uses of fractal antennas, fractal metamaterials, and related inventions, which he invented over the course of 30 years. Their implementation on the world stage has saved lives, made living easier, and enabled a new generation of modern wireless and electronics. Cohen has also received wide recognition for his invention of the invisibility cloak and created a new field of technology in that process. He holds 50 U.S. patents...

Today we bolstered our in-building DAS portfolio by introducing the UACM-SP - a wide-band, low-PIM omni-directional DAS and Public Safety antenna. The UACM-SP is the latest model in our flagship UACM wideband product family. It delivers continuous performance from 350MHz - 6GHz, with unity or better gain for all key public safety and cellular bands. This wideband performance makes it the perfect antenna to "future-proof" your system.

BEDFORD, Mass.--(BUSINESS WIRE)--Fractal Antenna Systems, Inc. today confirmed the issuance of its newest patents, enabling the next generation of stealth-like invisibility, and absorptive shielding, with commercial applications as well as defense options. Recently issued patent 10,027,033 is a continuation of that state of the art innovation. It discloses a novel means of turning invisibility cloaks on and off, by changing the characteristics of a boundary layer...

BEDFORD, Mass.--(BUSINESS WIRE)--Fractal Antenna Systems, Inc. today confirmed the issuance of its newest patents, enabling the next generation of stealth-like invisibility, and absorptive shielding, with commercial applications as well as defense options. Recently issued patent 10,027,033 is a continuation of that state of the art innovation. It discloses a novel means of turning invisibility cloaks on and off, by changing the characteristics of a boundary layer...

BEDFORD, Mass.--(BUSINESS WIRE)--A spinoff of invisibility cloak technology has finally seen the lights and glitz of Las Vegas, as Fractal Antenna Systems, Inc. (FRACTAL) debuted its breakthrough fractal metamaterial technology (FM/R) at the CES. Looking like a prop from a futuristic movie, the FM/R technology was a showcased innovation, with its unique ability to improve RF performance in wireless platforms, enhance existing wireless devices, and enable new ones previously unattainable.

BEDFORD, Mass.--(BUSINESS WIRE)--Fractal Antenna Systems today confirmed that it has developed a new proprietary antenna technology with broad applications, particularly in point to point access with directional antennas. The new technology is enabled by the firm’s fractal metamaterial discoveries and inventions. Fractal metamaterial devices are populated by closely packed ‘self similar’ shaped electromagnetic structures. Developed by the firm, the use of fractal metamaterials has already resulted in a broad range of critical attributes. Now magnification ability publicly joins the list of essential practical advantages.

BEDFORD, Mass.--(BUSINESS WIRE)--Today’s world is run on batteries, and keeping batteries going is a major technical challenge. For decades battery improvements have been ‘recipe’ driven, searching for exotic compounds to improve capacity and lifetime. Now, Fractal Antenna Systems (FRACTAL) reports a new approach with invention of batteries that have greater performance through geometry, using fractals and self-complementarity.

Wearable fractal antennas were first used in the US military, where Fractal Antenna Systems (the inventor of fractal antennas) used its patented IP to come up with antenna solutions for critical solutions. Not only has the firm created wearable fractal antennas, its baseline of experience on these garment-oriented antennas extends over 15 years. Furthermore it owns the source patent (7,830,319) for such garment fractal antennas, and has several pending patents as well.

Fractal antenna systems has just been issued an NOA by the patent office, signaling the imminent issuance of the fundamental patent on fractal metamaterials. Heat dissipation and power transfer are two of many, key new uses, which also has the broad ’source patent’ independent claim. Nathan Cohen notes: “This is a fundamental piece of applied physics with important applications in technology. Much of this has been independently verified post-invention, by university researchers across the globe. It is humbling and exciting to be the source inventor, and I am grateful for this recognition by the issuance of the patent.”

Our FRACTAL CEO has co-edited a definitive collection on all things fractal, woven around the genius behind it all--Benoit Mandelbrot. Professor Michael Frame at Yale and Dr. Cohen compiled this expansive collection, a must-have for scholars, researchers, and fractal fans. Available at bookstores and on Amazon.

WALTHAM, Mass.--(BUSINESS WIRE)--A newly published study by an international group of researchers has shown that fractals, complex geometric shapes that repeat of many size scales, are making possible a new era in design and utility for conformal and worn electronics. Writing in the journal Nature, the research group, headed by Jonathan Fan, showed that fractals offer unique benefits functioning as circuits and antennas, especially in stretchable applications, such as on-body. This makes them a key innovation for future wireless applications with people in mind.

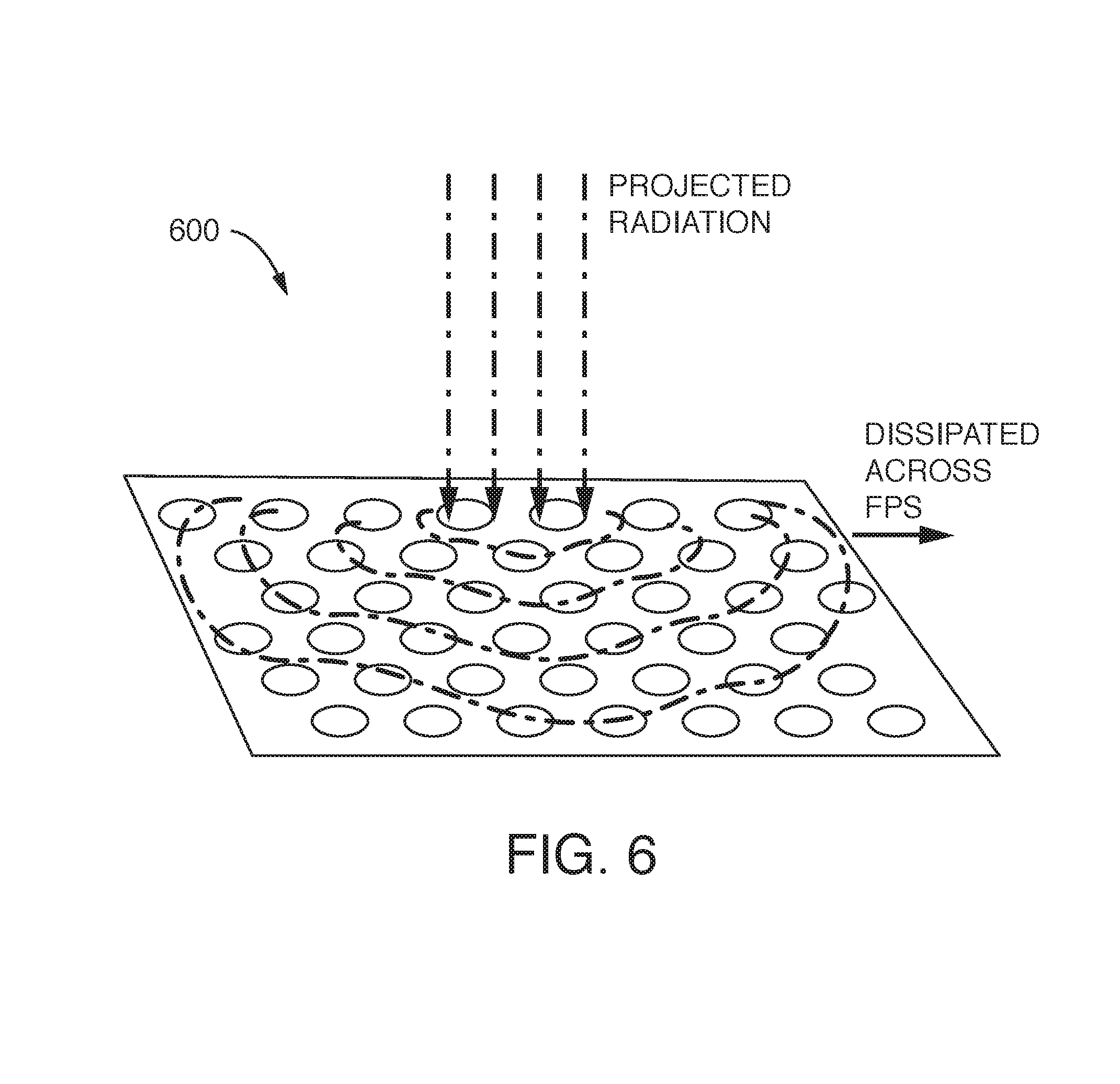
WALTHAM, Mass.--(BUSINESS WIRE)--Fractal Antenna Systems today divulged that it has filed patent on better methods for removing heat, and controlling its flow and direction. The technology uses tiny resonators made of self-scaled structures called fractals to form a virtual bridge to lead heat, or other electromagnetic radiation forms, controlling flow from one area to another. The resulting ‘heat transfer’ happens at the speed of light and can be superior to other methods such as convection, conduction, or ambient radiation loss.

WALTHAM, Mass.--(BUSINESS WIRE)--Fractal Antenna Systems, Inc. today disclosed that it has successfully rendered a man invisible. The firm’s new invisibility cloak hid a subject named Peter at microwaves over a wide bandwidth at high fidelity. This is the first time any large object has been rendered invisible and the first time a person has disappeared from view using invisibility cloak technology.

Waltham, MA — (3 February 2012) — WALTHAM, Mass.--(Feb 3, 2012) Rock concerts and sporting events just got the pick-up they needed – the antenna pick-up that is. Live entertainment shows have long been plagued with awkwardly-shaped, low-performance antennas used for wireless microphones and lighting controls. The solution for integrators, until now, has been to build the stage, or the arena, with more and more eyesore antennas just to get satisfactory coverage and performance. Now, Fractal Antenna Systems, Inc. (FRACTAL), with its partner Clair Global (Clair), introduces the solution: the CLAIR CF 1090 antenna.